Staalbouwwedstrijd: Collegebrug in Kortrijk door SumProject i.s.m. Ney & Partners
Ney & Partners is een bureau dat we al eens hebben gezien binnen de Staalbouwwedstrijd 2010. In de categorie ‘Burgerlijke Bouwkunde’ ging hun project ‘Fiets- en voetgangersbrug in Knokke’ met de hoofdprijs lopen. Maar ook hun samenwerking met SumProject, ‘De Collegebrug in Kortrijk’, werd genomineerd.

De Collegebrug kadert in de herinrichting van de Leie en haar omgeving in het centrum van de stad. Ze heeft een totale lengte van 203 m en een plan in een S-vorig tracé. Op die manier worden de hellingen van het kunstwerk beperkt tot 5%, een vereiste voor fietsers en voetgangers.


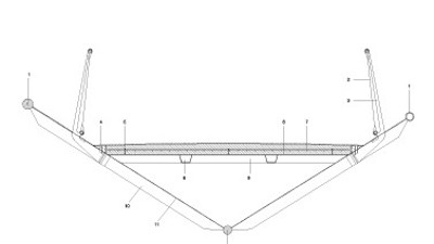
De hoofdbalk van deze hangbrug bestaat uit een metalen koker met een constante breedte van 3,2 m en een hoogte van 1 m. De dikte van de staalplaat van de koker varieert tussen 8 en 30 mm. Dwarsverstijvers met een tussenafstand van 2 m verzekeren een goede verbinding tussen de platen. Aan de onderkant zijn de verstijvers zichtbaar en dragen ze bij tot de lichtheid van het kunstwerk. Een gesloten kabel van 90 mm diameter hangt de structuur op aan twee scharnierende masten met variabele doorsnede. Voor de realisatie van de brug was 250 ton staal van staalkwaliteit S355 J2G3 nodig.
De beide uiteinden van het kunstwerk zijn ingeklemd in de landhoofden. Het dek van de koker is bedekt met 8 mm polyurethaan met carborundum. Het overige deel van het kunstwerk wordt beschermd door een grijze gemetalliseerde verf, waarvan de kleur evolueert in functie van de oriëntatie van de vlakken, de bezonning en de reflectie van het water. De borstwering is in roestvast staal en bestaat uit een metalen net dat over twee ronde staven gespannen wordt. De keuze voor staal werd mee ingegeven door de lichtheid van de structuur en de grote flexibiliteit in de uitwerking van details.
Technische fiche: Collegebrug Kortrijk
Plaats: Diksmuidekaai, Kortrijk
Opdrachtgever: Waterwegen en Zeekanaal, Afd. Bovenschelde,Gent
Architect: SumProject i.s.m. Ney & Partners, Brussel
Studiebureau: Ney & Partners, Brussel
Controlebureau: Seco, Brussel en MOW Vlaanderen - Afd. Metaalstructuren, Hasselt
Algemene aannemer: T.V. Van Laere - Anmeco, Zwijndrecht
Staalbouwer: Anmeco, Zwijndrecht
